工地安全 “警卫员” ,实时人员预警,筑牢平安工地第一道防线!
人员预警
在建筑施工场景中,人员流动频繁、现场动态复杂,如何精准掌控在场人员情况、规避安全风险,是每个项目管理团队的核心诉求。
如今—— 一套功能强大的实时人员预警系统,用科技赋能安全管理,让工地守护更智能、更安心!

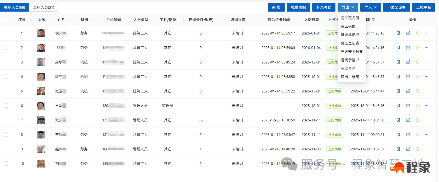
1、打开系统的劳务动态看板,项目人员情况一目了然
2、总人数、实时在场人数、今日进场 / 出场人次、考勤率等关键数据实时更新
3、搭配形象展示与最新出入场记录,谁在现场、何时进出,无需人工统计,指尖轻点便知详情
4、这份平安背后,离不开实时人员动态的精准把控,从工作人员的实时出入记录,到每日天气与施工节奏的联动,系统让管理决策有数据可依,告别 “盲管” 时代。
针对不同项目需求,系统支持专属定制化预警服务,更打通微信 + 短信双渠道,让安全提醒精准触达,把隐患消灭在萌芽状态:
人数清零通知:空场安全 “警报器”
当现场实时在场人数为 0 时,系统会第一时间向指定管理人员发送微信清零通知,清晰标注清零时间、预警类型与备注信息,确保工地空场期间无遗漏风险,让夜间及节假日的工地安全有迹可循。
每日定点推送:人员动态 “早知道”
每天 20 点,微信服务通知准时送达!最新在场人员名单、具体人数一键查看,王二小、张名等在场人员信息精准呈现,无需专人汇总上报,管理人员随时随地掌握现场情况,高效安排后续工作。

双渠道覆盖,通知不遗漏
微信服务通知:附带详细人员名单、预警时间,点击 “进入小程序查看” 解锁完整数据,适配日常办公场景;
短信通知:简洁明了呈现项目名称、在场人数 / 清零状态,附带查询链接,无网络也能及时接收,适配户外作业等多场景需求。

所有预警信息无需下载额外 APP,微信服务通知或手机短信直接推送,碎片化时间即可快速查阅;能让管理人员摆脱办公场地限制,实现 “随时随地管安全”。
实名制二维码
除了实时预警功能,整套方案更搭载实名制二维码系统,让人员从进场到离场的全流程管理实现 “身份可查、资质可核、数据可追”,彻底告别传统管理的繁琐与漏洞。
一人一码,打造 “数字身份证”
每位进场人员都拥有专属实名制二维码,可直接张贴在安全帽或工牌上,成为随身携带的 “数字身份证”。二维码内绑定核心信息
基础信息:姓名、身份证号、所属班组、工种等;
合规信息:安全教育记录、技能培训证书、特种作业资质等;
动态信息:进场时间、考勤记录、作业区域权限等。管理人员只需用微信扫码,3 秒内即可完成信息核验,无需翻阅纸质台账,效率提升 80% 以上。

核心功能升级,解决管理痛点
批量高效管理:支持通过 Excel 表格批量导入人员信息,一键生成二维码,适配大型项目多人进场场景,大幅节省前期准备时间。


数据互通联动,形成管理闭环
实名制二维码与人员预警系统实现数据实时同步:工人进场后,系统自动更新在场人数;离场后,人数同步递减,确保动态看板数据 100% 精准。
便捷操作!

所有功能均无需下载额外 APP,微信服务通知、手机短信或直接扫码即可使用:
管理人员:随时随地核验人员资质、查看预警信息;
一线工人:无需携带纸质证件,扫码即可查看个人培训记录;
多端适配:支持手机、平板、扫码枪等多种设备识别,即使网络不佳也能缓存数据,联网后自动同步。
此外,系统支持从资质核验到预警提醒,全程数字化追溯,让工地管理告别繁琐流程,聚焦安全本质。
科技赋能

从实时数据监测到定制化预警提醒,从实名制二维码精准管控到微信 + 短信多渠道覆盖,这套智慧管理方案不仅解决了建筑项目 “人员难管控、动态难掌握、资质难核验” 的核心痛点,更以数字化手段推动安全管理从 “被动监管” 向 “主动预防” 转型。


