

在建筑施工领域,安全培训常面临“两难”:工人时间分散,传统培训难组织、效果差;而安全知识不牢又易引发风险,企业急需高效培训方式。
现在,程象答题WiFi平台来了!它打通“网络使用”与“安全培训”,让工人连WiFi时就能完成安全学习与考核,轻松破解工地安全教育落地难题。


01.课程分类
无论是 “杂工”“木工” “钢筋工”等基础安全常识,还是各工种专属的专业知识点,程象答题 WiFi 平台都能精准根据工种匹配。
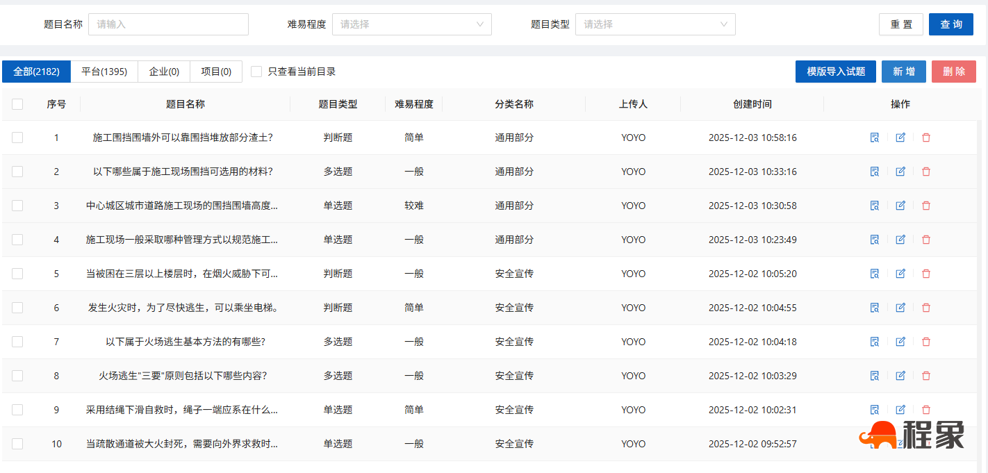
02.题库管理灵活
先在【考试管理】-【题库列表】,通过 “模板导入试题” 批量上传试题,或直接 “新增试题” 手动添加单选、多选、判断题。后续还能随时对试题进行修改、删除,确保题库内容紧跟工地安全管理要求,适配不同工种的培训需求。




01.设备配置参数
02.扩展配置
可以根据项目自身需求,与我们客服人员反馈,调整试题数量,试题类型可选,调整及格分数等需求。


担心工人不会操作?程象答题 WiFi 平台的设置逻辑完全贴合工地实际,灵活度拉满:
01.连接
02.答题







01.答题记录

02.数据统计
培训有没有用,数据说了算!程象答题 WiFi 平台的 “数据统计” 功能,能实时呈现关键信息:工人答题次数、错题率最高的试题、最佳答题人、答题人数折线图等数据一目了然。






程象答题 WiFi 平台通过“联网即培训,考核即通关”模式,仅一台设备即可实现强制学习,有效提升工人安全知识,为安全生产筑牢防线。
咨询☏热线:189-2345-5298
关注我们——获取更多智慧工地解决方案